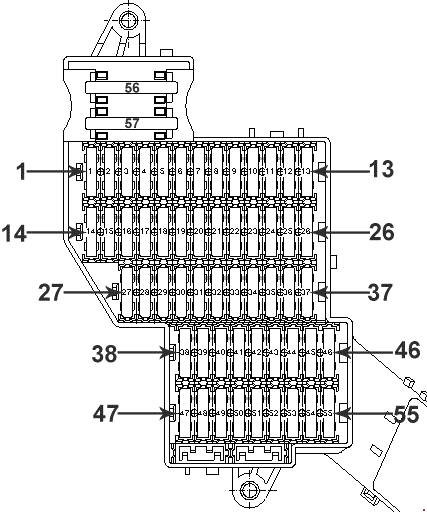
Caixa de fus�veis no lado esquerdo do painel

Diagrama da Caixa de Fus�veis Porsche Cayenne 2003-2010
Diagrama da Caixa de Fus�veis Porsche Cayenne 2003-2010
Diagrama da Caixa de Fus�veis Porsche Cayenne 2003-2010

 
N�o. Fun��o Fundida UMA
1 2003-2007: Tomada para consola central, isqueiro 
2007-2010: tomada do cockpit no centro da frente, tomadas da consola central na traseira direita e traseira esquerda
 
20
2 Receptor de r�dio aquecedor de estacionamento 5
3 Tomada na zona dos p�s dos passageiros 20
4 2003-2007: aquecedor de estacionamento 15
2007-2010: aquecedor de estacionamento
 
20
 
5 Soquetes no compartimento de bagagem 20
6 Porsche Entry & Drive 15
7 Diagn�stico, sensor de chuva / luz, controle de antena 5
8 Limpadores de p�ra-brisa 30
9 Unidade de controle do sistema el�trico do ve�culo (bomba para l�quido de lavagem) 15
10 2003-2007: janela de energia, traseira esquerda 25
2007-2010: janela de poder e travamento central, porta traseira esquerda
 
30
 
11 2003-2007: sistema de fecho central 15
12 2003-2007: Ilumina��o interior, unidade de controle do sistema el�trico do ve�culo 20
13 - -
14 2003-2007: janela de energia, frente esquerda 25
2007-2010: janela de poder e travamento central, porta dianteira esquerda
 
30
 
15 Luz da cauda, ​​certo; fechadura central, vidros el�ctricos, espelhos 15
16 Buzina, unidade de controle do sistema el�trico do ve�culo 20
17 2003-2007: Sinal de volta, luz lateral, esquerda; unidade de controle do sistema el�trico do ve�culo 10
2007-2010: Unidade de controlo do sistema el�ctrico do ve�culo (luz de sinaliza��o do lado esquerdo, luz do lado direito, luz baixa esquerda)
 
30
 
18 2003-2007: sistema de lava-far�is 20
2007-2010: sistema de lava-far�is
 
25
 
19 2003-2007: Far�is de nevoeiro, unidade de controle do sistema el�trico do ve�culo 15
2007-2010: Ilumina��o interna, unidade de controle do sistema el�trico do ve�culo
 
5
 
20 2007-2010: Unidade de controle do sistema el�trico do ve�culo (ilumina��o de instrumento, far�is de neblina � esquerda, farol alto adicional esquerdo)
 
30
 
21 2003-2007: Ilumina��o em curva, unidade de controle do sistema el�trico do ve�culo 15
22 Bloqueio do diferencial traseiro, caixa de transfer�ncia, tampa traseira autom�tica 
 
30
23 2003-2007: Bloqueio do diferencial traseiro, barras 
estabilizadoras desengat�veis 2007-2010: Bloqueio diferencial
 
10
24 Sistema de monitoriza��o da press�o nos pneus 5
25 - -
26 Porsche Stability Management, desativa��o do airbag do passageiro, interruptor do pedal do freio, painel de instrumentos, unidade de controle do motor, unidade de controle do airbag, m�dulo da coluna de dire��o
 
Unidade de controle do motor (gerenciamento do motor, ventiladores do radiador, airbag, interruptor da embreagem, painel de instrumentos)
 
10
27 - -
28 - -
29 - -
30 Far�is montados no tejadilho off-road 15
 
31 Far�is montados no tejadilho off-road 15
 
32 - -
33 Aquecimento no volante, m�dulo da coluna da dire��o 15
34 Monitoramento do compartimento de passageiros, aquecimento do assento, sensor de inclina��o 5
35 2003-2007: farol baixo, farol alto 15
2007-2010: Unidade de controlo do sistema el�ctrico do ve�culo (luz de nevoeiro direita, luz de m�ximos adicional direita, luz interior)
 
30
 
36 2003-2007: Unidade de controle do sistema el�trico do ve�culo 10
2007-2010: Unidade de controle para controles de assento de pot�ncia, esquerda
 
30
 
37 - -
38 Luzes de freio 10
39 Ativa��o do rel�, janela traseira aquecida, aquecimento do assento 5
40 Painel de instrumentos, diagn�stico 5
41 Unidade de comando Kessy (bloqueio da coluna da direc��o, bloqueio da igni��o, Porsche Entry & Drive, interruptor da embraiagem) 15
42 Telhado deslizante / elevat�rio ou sistema de telhado panor�mico 30
43 Subwoofer 30
44 Ajuste do assento el�trico, � esquerda; ajuste el�trico da coluna de dire��o 30
45 Ajuste do assento el�trico, � esquerda; aquecimento do banco traseiro 30
46 - -
47 2003-2007: Bloqueio do diferencial traseiro 
2007-2010: Caixa de transfer�ncia
 
10
48 Rel�gio aquecedor de estacionamento 5
49 Barras estabilizadoras servotr�nicas e desengat�veis 5
50 2003-2007: Ventila��o de tubos de aquecimento 10
51 Sensor de qualidade do ar, tomada de diagn�stico, freio de estacionamento 5
52 2003-2007: limpador traseiro 30
2007-2010: limpador traseiro
 
15
 
53 Unidade de controlo da janela traseira aquecida, monitoriza��o do habit�culo, interruptor das luzes, m�dulo da coluna da direc��o
 
5
54 Ajuste do feixe do farol, farol Xenon (esquerda; 2007-2010)
 
10
55 - -
56 Ventilador, sistema de ar condicionado frontal 40
57 2003-2007: Ventilador, sistema de ar condicionado traseiro 
2007-2010: controle de n�vel do compressor
 
40

 

Caixa de fus�veis no lado direito do painel

Diagrama da Caixa de Fus�veis Porsche Cayenne 2003-2010

 

 

N�o. Fun��o Fundida UMA
1 acoplamento de reboque 15
2 ParkAssist 5
3 acoplamento de reboque 15
4 2003-2007: Unidade de controle de telefone / telem�tica 5
5 acoplamento de reboque 15
6 Porsche Stability Management (PSM) 30
7 Caixa de transfer�ncia (trava do diferencial central), prepara��o do telefone 5
8 2003-2007: Poste de luz adicional, unidade de controle do sistema el�trico do ve�culo 20
2007-2010: Unidade de controlo do sistema el�ctrico do ve�culo (luz de marca��o lateral esquerda, luz de seta para a direita, luz baixa direita)
 
30
 
9 2003-2007: CD changer, navega��o em DVD 5
10 Sintonizador de TV, receptor de sat�lite (2003-2007), Entretenimento no banco traseiro (2007-2010)
 
5
11 R�dio ou Sistema de Comunica��o Porsche (PCM) 10
12 Amplificador para pacote de som e Bose 30
13 Aquecimento de Assento 5
14 Luz da cauda, ​​� esquerda; fechadura central, vidros el�ctricos, espelhos 15
15 2003-2007: janela de energia, traseira direita 25
2007-2010: janela de poder e travamento central, porta direita traseira
 
30
 
16 Luz de prote��o da tampa traseira, luz do compartimento de bagagem, luz de guarda da porta Luzes de prote��o traseira 10
17 2003-2007: farol baixo, certo; feixe alto, direito 15
18 Vidro traseiro aquecido 30
19 2003-2007: Servo- freio, engate de reboque 30 
25
2007-2010: Acoplamento de reboque, ponto de conex�o do soquete do reboque
 
25
 
20 Ajuste el�trico da altura do assento 30
21 Rel� de desbloqueio da roda de reserva (carga), buzina para sistema de alarme 10
22 2003-2007: Ajuste do assento el�trico frontal direito; aquecimento de assento, frente direita 30
2007-2010: aquecimento dos assentos, frente
 
25
 
23 Ar condicionado 10
24 Ajuste do assento el�trico, frente direita 30
25 Sistema de ar condicionado traseiro 5
26 - -
27 Controle de n�vel, n�vel de gerenciamento de suspens�o ativo da Porsche, controle de chassi din�mico da Porsche (PDCC)
 
15
28 - -
29 2003-2007: unidade de controle de transmiss�o 10
2007-2010: Unidade de controlo da transmiss�o, selector da alavanca seletora Tiptronic
 
5
 
30 Mecanismo de fecho da tampa da tampa traseira 20
31 Atuador de aba de enchimento, unidade de controle traseiro (motores)
 
15
32 2003-2007: fecho central, direito 10
33 - -
34 2003-2007: janela de poder, frente direita 25
2007-2010: janela de poder e travamento central, porta dianteira direita
 
30
 
35 2003-2007: Turn signal, side light, right; unidade de controle do sistema el�trico do ve�culo 10
2007-2010: controles de assento de pot�ncia, direita
 
30
 
36 M�dulo de telhado, telefone, b�ssola 5
37 - -
38 Gest�o de estabilidade da Porsche 10
39 Diagn�stico 5
40 Caixa de transfer�ncia (trava do diferencial central) 10
41 Unidade de controle de acoplamento de reboque 10
42 M�dulo do telhado, abertura da porta da garagem 5
43 Luz de backup 5
44 Bicos de lavadores aquecidos, interruptor de chassi, potenci�metro de aquecimento de assento, Controle de chassi din�mico Porsche (PDCC)
 
5
45 - -
46 2007-2010: entretenimento no banco traseiro 5
47 2003-2007: prepara��o por telefone 10
48 Controle de n�vel, Porsche Active Suspension Management 10
49 Telefone, espelho anti-encandeamento autom�tico 5
50 2003-2007: ParkAssist 5
2007-2010: farol Xenon, direito
 
10
 
51 2003-2007: unidade de controle de transmiss�o Tiptronic 20
2007-2010: unidade de controle de transmiss�o Tiptronic
 
15
 
52 Interruptor da alavanca seletora Tiptronic, pr�-instala��o da transmiss�o 5
53 Rel� do p�ra-brisas 30
54 Rel� do p�ra-brisas 30
55 Unidade de controle da c�mera de invers�o 5
56 Gest�o de estabilidade da Porsche 40
57 Unidade de controle da caixa de transfer�ncia, Low Range 40

 

aixa de fus�veis do compartimento do motor

Diagrama da Caixa de Fus�veis Porsche Cayenne 2003-2010
Diagrama da Caixa de Fus�veis Porsche Cayenne 2003-2010

 
N�o. Fun��o Fundida UMA
1 Ventilador 60
2 Ventilador 30
3 2003-2007: Bomba de ar secund�ria 40
4 2003-2007: Bomba de ar secund�ria 40
5 - -
6 - -
7 Injetores de combust�vel, bobinas de igni��o 20
8 2003-2007: Injectores de combust�vel, bobinas de igni��o 20
2007-2010: 
   Cayenne: Bobinas de igni��o 
   Cayenne S / Cayenne GTS / Caiena S Transsyberia:
      V�lvula de ventila��o do tanque, compressor de ar condicionado, unidade de controle de ar condicionado, comuta��o da tubula��o de entrada, ventila��o do c�rter
 
15
 
9 M�dulo de controlo do motor, ajustadores do veio de v�lvulas, comuta��o da tubagem de admiss�o (Cayenne) 30
2007-2010: 
   Cayenne: Unidade de controle do motor
 
20
 
2007-2010: 
   Cayenne S / Cayenne GTS / Caiena S Transsyberia:
      V�lvula de controle de quantidade, ajustador de �rvore de cames, ajustador de eleva��o de v�lvula
 
15
 
10 2003-2007: Componentes do motor: ventilador de ar de resfriamento, bomba de afunilamento, v�lvula de corte do recipiente de carbono, sensor de press�o para ar condicionado, detec��o de vazamento de tanque, bomba run-on (Cayenne S), v�lvula de v�lvula 
2007-2010: 
   Cayenne: rel� de bomba de �gua, detec��o de vazamento de tanque, v�lvula de corte de canister de carbono, ventilador, sensor de press�o para ar condicionado 
2007-2010: 
   Cayenne S / Cayenne GTS / Cayenne S Transsyberia:
      Est�gios de sa�da do ar de resfriamento sensor de press�o para condicionador de ar, detec��o de vazamento de tanque, v�lvula de escape, sensor de n�vel de �leo
 
10
11 Cablagem existente no motor, bomba de ar secund�ria (Cayenne), compressor de ar condicionado (Cayenne), sensor de n�vel de �leo (Cayenne) 
2007-2010: 
   Cayenne: sensor de n�vel de �leo, compressor de ar condicionado, unidade de controlo de ar condicionado e ventila��o do c�rter 
2007-2010: 
   Cayenne S / Caiena GTS / Cayenne S Transsyberia:
      Unidade de comando do motor, v�lvula de combust�vel
 
15
12 2003-2007: rel� E-box, bombas secund�rias de ar, rel� da bomba de p�s-retorno 5
2007-2010: ajuste do eixo de comando, respiro do tanque, v�lvula de combust�vel, coletor de admiss�o vari�vel
 
10
 
13 Bomba de combust�vel, direita 15
14 Bomba de combust�vel, esquerda 15
15 M�dulo de controle do motor, rel� principal 10
16 Bomba de v�cuo 30
17 Sensores de oxig�nio � frente do catalisador 15
18 Sensores de oxig�nio atr�s do conversor catal�tico 7,5