  |
 |
Remo��o
ADVERT�NCIA: Pinh�o do virabrequim N�O encaixado no virabrequim ( sem
chaveta ou referencias)
-
Levante e apoie a frente do ve�culo.
-
Remover:
-
Tampa da correia de transmiss�o auxiliar.
-
Correias de transmiss�o auxiliares.
|
Remover:
-
Tanque de expans�o do refrigerante. N�O desconecte as
mangueiras.
|
-
Motor
de suporte.
-
Remover:
-
Montagem do motor e suporte do RH. NOTA:
Marque a posi��o da montagem do motor antes da remo��o.
-
Tampa superior da correia da distribui��o [2] .
-

-
Buj�o do bloco de cilindros [3] .
-

|
-
Gire o
virabrequim no sentido hor�rio at� pouco antes do TDC no cilindro
n�mero 1.
-
Assegure marcas de temporiza��o nas rodas dentadas da �rvore de
cames �s 11 horas.
-
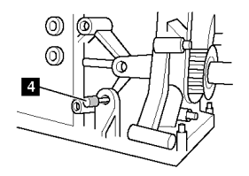
Insira
o pino de sincroniza��o do virabrequim [4] . Ferramenta
No.303-748.


|
-
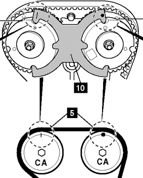
Gire o
virabrequim lentamente no sentido hor�rio at� que ele pare contra o
pino de tempo.
-
Assegure marcas de temporiza��o nas rodas dentadas da �rvore de
cames na posi��o de 12 horas [5]
 
-
Instale as ferramentas de bloqueio do volante (Retirar o motor de
partida) [6] .

|
Remover:
-
Parafuso da polia do virabrequim [7] .
-
Polia do virabrequim [8] .
-
Tampa inferior da correia da distribui��o [9] .

|