Atribui��o dos fus�veis e rel� no porta-malas
Componente PROTEGIDO Amp
37 Banco do motorista Solen�ide do
encosto de cabe�a NECK-PRO Banco do passageiro dianteiro Solen�ide do encosto de cabe�a NECK-PRO
7,5
38 V�lido para o modelo 212.2: motor do limpador da porta traseira 15
39 at� 31.05.2010: Comando da porta traseira esquerda
V�lido para ve�culos com volante � direita a partir de 01.06.2010: Comando da porta traseira esquerda
30
40 vazio -
41 at� 31.05.2010: Comando da porta traseira direita
V�lido para ve�culos com volante � esquerda a partir de 01.06.2010: Comando da porta traseira direita
30
42 Rel� da bomba de combust�vel
V�lido para o motor 156, 271, 272, 273, 274, 276, 278, 642, 651: Unidade de controle do sistema de combust�vel
25
43 M�dulo de comunica��es de servi�os telem�ticos  7,5
44 Interruptor de ajuste do assento parcialmente el�trico do assento do passageiro dianteiro 30
45 Interruptor de ajuste do assento parcialmente el�trico do assento do motorista 30
46 Amplificador de antena FM 1, AM, CL [ZV] e KEYLESS-GO Amplificador de antena de
janela traseira 1 antena
DAB banda III
Sirene de alarme
Prote��o interna e unidade de controle de prote��o de reboque
V�lido a partir de 01.06.2011 no motor 157, 276, 278: L�quido refrigerante rel� da bomba de circula��o
7,5
47 vazio -
48 vazio -
49 Aquecedor de janela traseira 40
50 Retrator de tens�o de emerg�ncia revers�vel frontal direito 50
51 Retrator de tens�o de emerg�ncia revers�vel dianteiro esquerdo 50
52 vazio -
53 Unidade de controle de reconhecimento de trailer 30
54 Unidade de controle de reconhecimento de trailer 15
55 vazio -
56 Soquete de trailer 15
57 Unidade de controle de reconhecimento de trailer  20
57 Conversor de voltagem de moldagem de soleira de porta iluminada dianteira esquerda
Conversor de voltagem de moldagem de soleira de porta iluminada dianteira direita
7,5
58 Unidade de controle de reconhecimento de trailer  25
59 Sensor DISTRONIC (DTR) do p�ra-choque dianteiro esquerdo Sensor
DISTRONIC (DTR) do p�ra-choque dianteiro direito
7,5
60 Bomba pneum�tica de assento multicontorno  7,5
60 Bomba pneum�tica de assento multicontorno din�mica 30
61 Unidade de controle de controle da tampa do
porta- malas Unidade de controle da porta traseira
40
62 Unidade de controle do assento do motorista 25
63 Unidade de controle do aquecedor do banco traseiro 25
64 Unidade de controle do assento do passageiro dianteiro 25
65 at� 28/02/2013: Unidade de controle do aquecedor do volante 7,5
65 a partir de 01.03.2013: Unidade de controle do m�dulo do tubo da coluna de dire��o  10
66 Motor do soprador traseiro 7,5
67 Unidade de controle do amplificador do sistema de som 40
68 Unidade de controle AIRmatic Unidade de controle
de n�vel eletr�nico do eixo traseiro
15
69 Amplificador de alto-falante traseiro 25
70 Unidade de controle do monitor de press�o dos pneus 5
71 Tomada interior do ve�culo, frontal
Acendedor de cigarros dianteiro com ilumina��o de cinzeiro
15
72 Soquete de �rea de carga 15
73 Conector de diagn�stico
Aquecedor estacion�rio receptor de controle remoto via r�dio
V�lido com transmiss�o 722.930 / 931: Unidade de controle do modo de transmiss�o
5
74 Unidade de controle KEYLESS-GO
V�lido a partir de 01.03.2013: Unidade da luz dianteira direita
V�lido a partir de 01.03.2013: Unidade da luz dianteira esquerda
V�lido a partir de 01.12.2011: Unidade de controle do conversor CC / CA
15
75 Aquecedor estacion�rio
V�lido a partir de 01.03.2013 (com far�is Dynamic LED: Farol
dianteiro esquerdo Farol dianteiro
direito
20
75 V�lido para o motor 156: rel� do motor do ventilador do resfriador de �leo 25
76 Porta-copos
traseiro Soquete do console central
traseiro Conex�o el�trica USB traseira
15
77 Porta-copos traseiro
V�lido at� 28/02/2013: Unidade de controle do sistema de detec��o de peso (WSS)
V�lido para ve�culos na China e Coreia do Sul: Processador de navega��o
7,5
78 Unidade de controle de interface de m�dia Unidade de
conex�o multim�dia
7,5
79 V�lido at� 31.05.2010: Unidade de controle dos sensores de radar
V�lido a partir de 01.06.2010: Unidade de controle do sistema de sensores de v�deo e radar
V�lido a partir de 01.03.2013: Unidade de controle do gateway do chassi
5
80 Unidade de controle do sistema de estacionamento 5
81 Amplificador / compensador de antena de sistema de telefonia
celular Conector el�trico de telefone celular
Processador de navega��o
5
82 Regulador do ventilador de ventila��o do banco dianteiro esquerdo Regulador do ventilador de ventila��o do banco dianteiro direito 10
83 Luva de conex�o do circuito 15R
Unidade de controle do sistema de chamada de emerg�ncia
V�lido at� 31.05.2010: Processador de navega��o
Vers�o japonesa: Unidade de controle de cobran�a eletr�nica de ped�gio
7,5
84 M�dulo de alimenta��o da c�mera revers�vel
Unidade de controle de transmiss�o de �udio digital
V�lido at� 28.02.2013: Unidade de controle da c�mera revers�vel
V�lido a partir de 01.03.2013: C�mera
reversa V�lido at� 31.05.2010: SDAR / unidade de controle do sintonizador de alta defini��o
V�lido a partir de 01/06/2010 : Unidade de controle de r�dio de �udio digital por sat�lite (SDAR)
V�lido a partir de 01/03/2013: Unidade de controle de c�mera 360 �
5
85 V�lido at� 28.02.2015: Sintonizador de TV (anal�gico / digital)
V�lido at� 28.02.2015: Sintonizador de TV digital
V�lido a partir de 01.03.2015: Sintonizador
7,5
86 Leitor de DVD
Ecr� traseiro esquerdo Ecr�
traseiro direito
7,5
87 Unidade de controle do sistema de chamada de emerg�ncia Unidade de controle
multifuncional do ve�culo especial (SVMCU)
V�lido a partir de 01.06.2011 com motor 157, 274, 276, 278: Rel� da bomba de circula��o do refrigerante
V�lido a partir de 01.03.2015: M�dulo de comunica��es de servi�os telem�ticos
7,5
88 V�lido com transmiss�o 722.9: servo m�dulo inteligente para SELE��O DIRETA 15
89 Unidade de controle de reconhecimento de reboque Unidade de controle
multifuncional especial do ve�culo (SVMCU)
V�lido at� 28/02/2013 com motor 157: Unidade de controle do sistema de combust�vel
V�lido a partir de 01.03.2013 (com far�is LED est�ticos):
Unidade da luz dianteira direita Unidade
da luz dianteira esquerda
30
90 Rel� da bomba de circula��o do refrigerante
V�lido para motor 642.8 com BlueTEC: bloco de fus�veis AdBlue�
40
91 V�lido para transmiss�o 722 com fun��o ECO start / stop: unidade de controle SAM frontal com fus�vel e m�dulo de rel� 10
92 V�lida a partir de 2013/01/03: unidade de controlo KEYLESS-GO
v�lida a partir de 2013/03/01: m�dulo de comuta��o Traseira
v�lido at� 30.11.2011: unidade de controlo do conversor DC / AC
15
     
  Reles do sistema  
local Circuito 15 rel�  
B Rel� do circuito 15R (1)  
C Rel� do aquecedor do vidro traseiro  
D V�lido para motor diesel: rel� da bomba de combust�vel  
E Rel� do limpador de p�ra-brisa do Liftgate  
F Rel� de ajuste do assento  
G Rel� do circuito 15R (2)

 

                    Caixa de fus�veis do painel de instrumentos

Caixa de fus�veis do compartimento do motor

Atribui��o dos fus�veis e rel� no compartimento do motor
Componente PROTEGIDO Amp
1 V�lido para do lado esquerdo do ve�culo unidade:
unidade de controle Programa Electr�nico de Estabilidade
Programa Electr�nico de Estabilidade premium unidade de controle
h�brido: unidade de controle sistema de travagem regenerativa
v�lido para ve�culos com volante � direita: regulador Blower
25
2 at� 31.05.2010: Comando da porta dianteira esquerda
V�lido para ve�culos com volante � direita a partir de 01/06/2010: Comando da porta traseira esquerda
30
3 at� 31.05.2010: Comando da porta dianteira direita
V�lido para ve�culos com volante � esquerda a partir de 01/06/2010: Comando da porta traseira direita
30
4 V�lido com motor 157: Unidade de controle do sistema de combust�vel
V�lido para motor 642, 651 at� 31/05/2010: Sensor de condensa��o do filtro de combust�vel com elemento de aquecimento
20
4 V�lido para o motor 651 (com filtro de combust�vel aquecido adaptado) at� 31.05.2010: Unidade de controle para sensor de condensa��o do filtro de combust�vel com elemento de aquecimento 7,5
5 Conjunto de instrumentos
Interruptor das luzes externas
Unidade de controle SAM traseira com fus�vel e m�dulo de rel�
V�lido a partir de 01.03.2013: Unidade de controle do Programa Eletr�nico de Estabilidade
V�lido a partir de 01.03.2013: Unidade de controle do Programa Eletr�nico de Estabilidade Premium
7,5
6 V�lido para motor diesel: unidade de controle CDI
V�lido para motor a gasolina: unidade de controle ME-SFI
V�lido para motor 271.958, 274.920: unidade de controle CNG
10
7 Iniciante 20
8 Unidade de controle do sistema de restri��o suplementar 7,5
9 Soquete porta-luvas 15
10
Aquecedor de posi��o estacionada do limpador do motor
30
11 �udio / COMAND display
�udio / painel de controle COMAND M�dulo de
navega��o
Suporte para
motor de ventilador do m�dulo de navega��o COMAND
7,5
12 Unidade de controle e opera��o ACC Unidade de
controle do painel de controle superior
V�lido para transmiss�o 722, 724, 725: Bot�o de modo de transmiss�o autom�tica
AIRMATIC: Grupo de bot�es de suspens�o
7,5
13 Unidade de controle do m�dulo do tubo da coluna de dire��o
C�mera
multifuncional C�mera multifuncional est�reo
7,5
14 Unidade de controle Programa Electr�nico de Estabilidade
unidade de controle Programa Electr�nico de Estabilidade premium
7,5
15 Unidade de controle do sistema de restri��o suplementar 7,5
16 H�brido: Compressor el�trico de refrigerante
V�lido com transmiss�o 722.930 / 931: INTERFACE SELE��O DIRETA
V�lido para transmiss�o 722 (exceto 722.930 / 931): Unidade de controle do m�dulo da alavanca seletora eletr�nica
5
17 Unidade de controle do painel de controle suspenso M�dulo de controle
panor�mico do teto deslizante
30
18 Interruptor das luzes externas
H�brido: Unidade de controle da eletr�nica de pot�ncia
V�lido at� 28/02/2013:
Grupo de interruptores do painel de instrumentos
Unidade de controle do painel de controle superior
V�lido para transmiss�o 722 com partida / parada ECO: Rel� da bomba auxiliar do �leo da transmiss�o
7,5
19 V�lido, exceto a transmiss�o 722.9: unidade de controle da fechadura de igni��o eletr�nica, unidade de controle da fechadura de dire��o el�trica 20
20 V�lido para ve�culo com volante � esquerda: unidade de controle do Programa de Estabilidade Eletr�nico, unidade de controle do Programa de Estabilidade Eletr�nica Premium
V�lido para ve�culo com volante � esquerda, H�brido: Unidade de controle do sistema de travagem regenerativa
40
21 Reconhecimento de ocupados do banco do passageiro dianteiro e
unidade de controle do sistema de detec��o de peso ACSR (WSS),
exceto H�brido at� 28.02.2013: Interruptor das luzes de freio
H�brido at� 28.02.2013:
Interruptor da luz de freio h�brido
Comutado atrav�s do interruptor da l�mpada do porta-luvas L�mpada do
porta-luvas
7,5
22 V�lido para motor de ventilador com 650, 800 W: Motor de ventilador para motor de combust�o interna e ar condicionado com controle integrado
V�lido para motor 156:
Conector el�trico para chicote interno e chicote el�trico do motor
Circuito 87 manga conectora M2e
V�lido para motor 157, 271, 272, 273, 274, 276, 278: Conector el�trico para chicote interno e chicote el�trico do motor
V�lido para o motor 271, 272.98, 274.9, 276 e o ​​motor 651 (exceto com 4MATIC): Atuador das persianas do radiador
V�lido para o motor 642, 651:
Unidade de controle CDI
El�trica conector para chicote interno e chicote el�trico do motor
15
23 V�lido para motor diesel: unidade de controle SAM traseira com fus�vel e m�dulo de rel�
V�lido para motor 271, 642, 651: manga de conex�o M1e do circuito 87
V�lido para motor 156, 157, 271, 272, 273, 274, 276, 278, 642, 651 : Conector el�trico para chicote interno e chicote el�trico do motor
V�lido para o motor 271: unidade de controle ME-SFI
20
24 V�lido para motor 156, 157, 271, 272, 273, 274, 276, 278, 642, 651: Conector el�trico para chicote interno e chicote el�trico do motor
V�lido para motor diesel: unidade de controle CDI
V�lido para motor a gasolina: unidade de controle ME-SFI
V�lido para motor 271.958, 274.920: unidade de controle CNG
15
25 V�lido para o motor 642, 651 com BlueTEC:
Unidade de controle de �xidos de nitrog�nio a jusante do filtro de part�culas diesel
Unidade de controle de �xidos de nitrog�nio a jusante do conversor catal�tico SCR
Unidade de controle do sensor de part�culas de fuligem
V�lido para motor a gasolina: unidade de controle ME-SFI
H�brido:
Bomba de circula��o do refrigerante de refrigera��o da transmiss�o rel�
Rel� da bomba de circula��o do l�quido de arrefecimento da eletr�nica de pot�ncia H�BRIDA
V�lido para o motor 156: Luva do conector, circuito 87 M3e
15
26 R�dio
R�dio com sistema de piloto autom�tico
COMAND unidade controladora
20
27 V�lido para motor a gasolina: unidade de controle ME-SFI
V�lido para motor diesel:
unidade de controle CDI Unidade de
controle com fechadura de igni��o eletr�nica
V�lido para motor 271.958, 274.920: unidade de controle CNG
7,5
28 Conjunto de instrumentos 7,5
29 V�lido at� 28/02/2013: Unidade de luz frontal direita 10
30 V�lido at� 28/02/2013: unidade de luz frontal esquerda 10
31A Buzina de fanfarra esquerda Buzina de
fanfarra direita
15
31B Buzina de fanfarra esquerda Buzina de
fanfarra direita
15
32 V�lido para motor 272: bomba de ar el�trica 40
33 V�lido para transmiss�o 722.6: Unidade de controle de controle de transmiss�o eletr�nica
V�lido para transmiss�o 722.9, 724, 725: Unidade de controle de controle de transmiss�o totalmente integrada
10
34 V�lido para o motor 156, 271, 272, 273, 642, 651: Unidade de controle do sistema de combust�vel 7,5
35 H�brido: rel� de fonte de alimenta��o da unidade de controle H�BRIDO 7,5
36 Unidade de controle Night View Assist
V�lido at� 28.02.2013: Unidade de controle el�trico DISTRONIC
V�lido a partir de 01.03.2013: Sensor radar de longo alcance frontal
V�lido a partir de 01.03.2013: Unidade de controle COLLISION PREVENTION ASSIST
7,5
     
  RELES  
J Circuito 15 rel�  
K Rel� do circuito 15R  
eu Rel� do aquecedor da posi��o de estacionamento do limpador  
M Rel� do circuito de partida 50  
N Rel� do circuito do motor 87  
O Rel� da buzina  
P V�lido para motor 272: rel� de inje��o de ar secund�rio  
Q Rel� da bomba auxiliar de �leo de transmiss�o  
R Rel� do circuito 87 do chassi

 

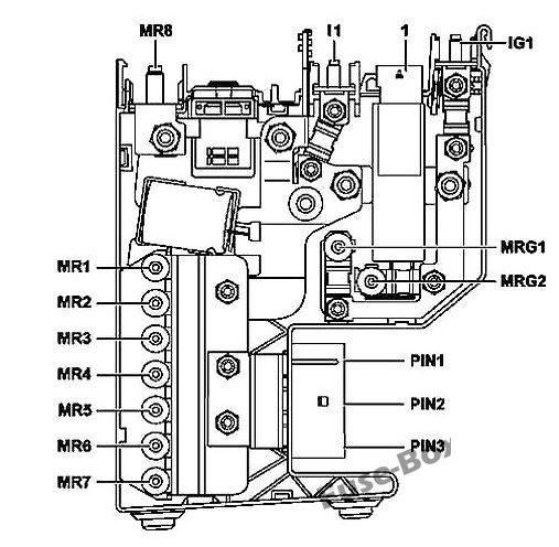
Caixa de pr�-fus�vel frontal

Caixa de pr�-fus�vel frontal (sem ECO start / stop)
Componente PROTEGIDO Amp
MR8 Pyrofuse, acionado pela unidade de controle do Sistema de Restri��o Suplementar -
MR1 Unidade de controle de dire��o el�trica 50
MR2 Poupar -
MR3 Poupar -
MR4 Motor do ventilador para motor de combust�o interna e ar condicionado com controle integrado 100
MR5 V�lido para motor diesel: booster de aquecimento PTC 150
MR6 V�lido para a bateria do sistema el�trico frontal a bordo: unidade de controle SAM frontal com fus�vel e m�dulo de rel� 60
MR7 Unidade de controle SAM frontal com fus�vel e m�dulo de rel� 150
PIN1 V�lido para ve�culos com volante � esquerda: regulador Blower
v�lido para ve�culos com volante � direita:
unidade de controle Programa Eletr�nica de Estabilidade
unidade de controle Programa Eletr�nica de Estabilidade premium
50
PIN2 V�lido para ve�culos com volante � direita:
unidade de controle Programa Eletr�nico de Estabilidade
unidade de controle Programa Eletr�nico de Estabilidade premium
50
PIN3 Rel� AIRmatic
v�lido com transmiss�o 725: Unidade de controle de transmiss�o totalmente integrada
60
MRG1 Poupar -
MRG2 Unidade de controle SAM frontal com fus�vel e m�dulo de rel� 100
IG1 Unidade de controle SAM traseira com fus�vel e m�dulo de rel� 150
I1 V�lido para a bateria do sistema el�trico de bordo frontal: Unidade de controle SAM traseira com fus�vel e m�dulo de rel� 100

 

Caixa de pr�-fus�vel frontal (com partida / parada ECO)
Componente fundido Amp
MR8
Unidade de controle do aquecedor estacion�rio do alternador
350
MR4 Motor do ventilador para motor de combust�o interna e ar condicionado com controle integrado 100
MR5 V�lido para motor diesel: booster de aquecimento PTC 150
MR6 V�lido para a bateria do sistema el�trico frontal a bordo: unidade de controle SAM frontal com fus�vel e m�dulo de rel� 60
MR7 Unidade de controle SAM frontal com fus�vel e m�dulo de rel� 150
MR9 Poupar -
MG2 Unidade de controle SAM frontal com fus�vel e m�dulo de rel� 100
MR3 Unidade de controle de dire��o el�trica 80
IG1 Unidade de controle SAM traseira com fus�vel e m�dulo de rel� 150
IM1 V�lido para a bateria do sistema el�trico de bordo frontal: Unidade de controle SAM traseira com fus�vel e m�dulo de rel� 100
PIN1 V�lido para ve�culos com volante � esquerda: regulador Blower
v�lido para ve�culos com volante � direita:
unidade de controle Programa Electr�nico de Estabilidade
unidade de controle Programa Electr�nico de Estabilidade premium
50
PIN2 V�lido para ve�culos com volante � direita:
unidade de controle Programa Electr�nico de Estabilidade
unidade de controle Programa Electr�nico de Estabilidade premium
50
PIN3 Rel� AIRmatic
v�lido com transmiss�o 725: Unidade de controle de transmiss�o totalmente integrada
60