Capitulo 60
Aplicativo HONDA
Motor B20B4
CR-V 2.0L
ANO: 1997-98
Sempre deve ser levados em conta o uso prévio e a história de serviço do veículo.
Caso não haja a instalação da correia com precisão, pode haver dano nos pistões e Válvulas.
Um cheque de compressão de todos os cilindros deveria ser executado antes de remover o CABEÇOTE.
b) - Não gire a Árvore de Manivelas nem o Comando de Válvulas ao remover a correia dentada.
c) - Remova as velas para aliviar a pressão do motor se ele tiver que ser girado.
d) - Gire a Árvore de manivelas no sentido normal de funcionamento ou seja no sentido horário.
e) - Não gire a Árvore de Manivelas pelo Comando de Válvulas ou pôr outra polia.
f) - Observe todos torques.

Nota: A direção normal de rotação do motor é à esquerda.
1)- Levante e apóie a frente do veículo.
2)- Remova:
a)- Roda dianteira esquerda.b) - Protetor de água do motor.
c) - Correias de acessórios adicionais.
d) - Atuador de velocidade.
3)- Gire a árvore de manivelas à esquerda até o cilindro N° 1 no ponto morto superior de compressão com as marcas de sincronismo da polia (pintadas de branco) alinhadas (fig. 1).

4)- Apóie o motor e remova:
a)- Montagem esquerda do motor.
b) - Protetor do cabeçote.
5)- Confirme que as marcas UP na engrenagem do comando de válvulas estejam viradas para cima (fig. 2).

6)- Usando a chave da polia, alavanca e soquete, N°s 07MAB-PY3010A, 07JAB-001020A e 07JAA-001020A, remova o parafuso da polia da árvore de manivelas.
7)- Remova:
a)- Polia da árvore de manivelas (fig.4).

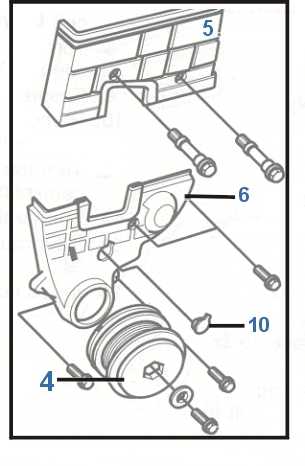
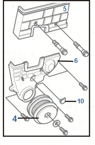
b)- Protetor superior da correia de sincronismo (fig.5).
c) - Protetor inferior da correia de sincronismo (fig.6).
d) - Arruela guia da engrenagem da árvore de manivelas.
8)- Confirme que as marcas de sincronismo estejam alinhadas (fig. 7 e 8).



9)- Solte o parafuso do tencionador (fig. 9) meia volta, empurre o tencionador de bruços para longe da correia e aperte ligeiramente o parafuso.
10)- Remova a correia de sincronismo.
Nota: Se for usar a mesma correia, marque a direção de rotação com giz.
1)- Confirme que as marcas de sincronismo estejam alinhadas (fig.
7 e 8).


2)- Confirme que as marcas UP na engrenagem do comando de válvulas fiquem viradas para cima (fig.
2).
3)-
Instale a correia de sincronismo nas engrenagens e polias na seguinte ordem: a) - Engrenagem da árvore de manivelas.b) - Polia tencionadora.
c) - Engrenagem da bomba dágua.
d) -
Engrenagem de saída do comando de válvulas.e) - Engrenagem de entrada do comando de válvulas.
Nota: Se for usar a correia antiga, observe a direção de rotação.
4)- Confirme que a correia de sincronismo tencione entre as engrenagens no lado oposto ao tencionador.
5)- Solte o parafuso do tencionador (fig. 9), e deixe o tencionador operar e reaperte o parafuso.
6)- Instale:
a) - Arruela guia da engrenagem da árvore de manivelas.
b) - Protetor inferior da correia de sincronismo (fig.6).
c) - Protetor superior da correia de sincronismo (fig.5).
d) - Polia da árvore de manivelas (fig.4).

7)- Lubrifique a rosca e a face do parafuso da polia da árvore de manivelas (fig.3) e aplique um torque de 176Nm.
8)- Gire a árvore de manivelas 6 voltas lentamente à esquerda.
9)- Confirme que as marcas de sincronismo estejam alinhadas (fig. 1 e 8).



10)- Remova o plug do protetor inferior da correia de sincronismo (fig. 10).
11)- Solte o parafuso tencionador (fig. 9) meia volta.
12)- Gire a árvore de manivelas à esquerda até que as engrenagens do comando de válvulas tenham se movido 3 dentes a frente.
13)- Aplique um torque de 54Nm no parafuso tencionador (fig. 9).
14)- Reaperte o parafuso da polia da árvore de manivelas em 177Nm (fig. 3).

15)- Instale os componentes na ordem inversa de que foram removidos.