Capitulo 59
Aplicativo HONDA
Motor B16A2, B16A3
Civic del sol 1.6L DOHC V-TEC
ANO: 1994-97
A partir de 97 Honda recomenda a troca a cada 105.000 milhas (231.000Km).
Sempre deve ser levados em conta o uso prévio e a história de serviço do veículo.
Caso não haja a instalação da correia com precisão, pode haver dano nos pistões e Válvulas.
Um cheque de compressão de todos os cilindros deveria ser executado antes de remover o CABEÇOTE.
b) - Não gire a Árvore de Manivelas nem o Comando de Válvulas ao remover a correia dentada.
c) - Remova as velas para aliviar a pressão do motor se ele tiver que ser girado.
d) - Gire a Árvore de manivelas no sentido normal de funcionamento ou seja no sentido horário.
e) - Não gire a Árvore de Manivelas pelo Comando de Válvulas ou pôr outra polia.
f) - Observe todos torques.
Nota: A direção normal de rotação do motor é à esquerda.
1)- Levante e apóie a frente do veículo.
2)- Remova:
a) - Roda dianteira esquerda.b) - Protetor de água do motor.
c) - Correias de acessórios adicionais.
d) - Bomba e delimitador da direção hidráulica, não desconecte as mangueiras
3)- Gire a árvore de manivelas até o cilindro N° 1 no ponto morto superior de compressão com as marcas de sincronismo alinhadas (fig. 1).

4)- Apóie o motor e remova:
a) - Montagem esquerda do motor (fig.2).

b) - Protetor do cabeçote.
5)- Confirme que as marcas UP na engrenagem do comando de válvulas estejam viradas para cima (fig. 3).

6)- Remova:
a) - Polia da árvore de manivelas (fig.4).

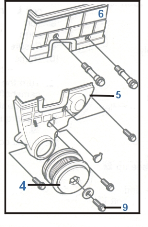
b) - Protetor inferior da correia de sincronismo (fig.5).
c) - Protetor superior da correia de sincronismo (fig.6).
7)- Solte o parafuso tencionador (fig. 7), empurre o tencionador para longe da correia de sincronismo e aperte ligeiramente o parafuso tencionador.
8)- Remova a correia de sincronismo.
1)- Confirme que as marcas de sincronismo estejam alinhadas (fig.
1 e 8).

2)- As marcas UP devem estar voltadas para cima (fig.
3).

3)- Instale a correia de sincronismo nas polias e engrenagens na seguinte ordem:
a) - Engrenagem da árvore de manivelas.b) - Polia tencionadora.
c) - Bomba dágua.
d) - Engrenagem exaustora do comando de válvulas.
e) - Engrenagem de entrada do comando de válvulas.
4)- Solte o parafuso tencionador (fig.
7) e aperte.5)- Gire a árvore de manivelas à esquerda 6 voltas.
6)- Confirme que as marcas de sincronismo estejam alinhadas (fig.
1 e 8).

7)- Solte o parafuso tencionador (fig.
7).8)- Gire a árvore de manivelas à esquerda por 3 dentes da engrenagem do comando de válvulas.
9)- Aplique um torque de 54Nm no parafuso tencionador (fig.
7).10)- Instale os componentes na ordem inversa de que foram removidos.
11)- Aplique um torque de 177Nm no parafuso da polia da árvore de manivelas (fig.
9).12)- Aplique um torque de 73Nm nos pinos da montagem do motor.