Capitulo 54
Aplicativo HONDA
Motor ES2, ES3,
A20A1, A20A3
Accord 1.8L
Accord 2.0L
Prelude 1.8L
Prelude 2.0L
ANO: 1984-90
Sempre deve ser levados em conta o uso prévio e a história de serviço do veículo.
| Siga Especificações para evitar danos ao Motor |
Caso não haja a instalação da correia com precisão, pode haver dano nos pistões e Válvulas.
Um cheque de compressão de todos os cilindros deveria ser executado antes de remover o CABEÇOTE.
b) - Não gire a Árvore de Manivelas nem o Comando de Válvulas ao remover a correia dentada.
c) - Remova as velas para aliviar a pressão do motor se ele tiver que ser girado.
d) - Gire a Árvore de manivelas no sentido normal de funcionamento ou seja no sentido horário.
e) - Não gire a Árvore de Manivelas pelo Comando de Válvulas ou pôr outra polia.
f) - Observe todos torques.

Nota: A direção normal de rotação do motor é à esquerda.
1)- Levante e apóie a frente do veículo:
2)- Remova:
a)- Roda dianteira esquerda.b) - Painel protetor esquerdo.
c) - Protetor da água do motor.
3)- Apóie o motor e remova:
a) - Correias de acessórios adicionais.b) - Montagem superior do motor.
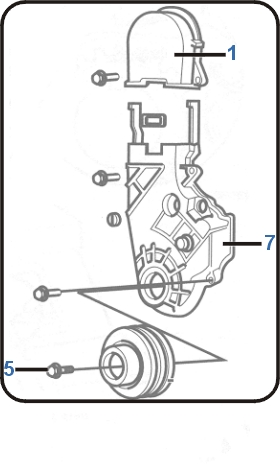
c) - Protetor superior da correia de sincronismo (fig.1).
4)- Gire a árvore de manivelas à esquerda até o cilindro N° 1 no ponto morto superior de compressão com as marcas (brancas) de sincronismo alinhadas (fig.
2).
5)- Confirme que as marcas do comando de válvulas (fig.
3) alinhem com o buraco ou com as marcas UP (fig. 4).
6)- Remova:
a) - Parafuso da polia da árvore de manivelas (fig.5). b) - Polia da árvore de manivelas (fig.6). c) - Protetor inferior da correia de sincronismo (fig.7).
Nota: Talvez seja necessário aplicar um lubrificante para soltar o protetor inferior (fig.
8).7)- Solte o parafuso tencionador (fig.
9), empurre o tencionador para longe da correia e aperte ligeiramente o parafuso.
8)- Remova a correia de sincronismo.
1)- Confirme que as marcas de sincronismo estejam alinhadas (fig.
2 e 3).

2)-
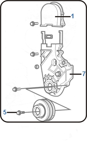
Instale a correia de sincronismo nas engrenagens e polias na seguinte ordem: a) - Engrenagem da árvore de manivelas.b) - Engrenagem do comando de válvulas.
c) - Engrenagem da bomba de óleo.
d) - Polia tencionadora.
3)- Confirme que a correia de sincronismo tencione entre as engrenagens no lado oposto ao tencionador.
4)- Solte o parafuso tencionador (fig.
9) e deixe o tencionador operar.
5)- Gire a árvore de manivelas à esquerda por três dentes na engrenagem do comando de válvulas.
6)- Aplique um torque de 42Nm no parafuso tencionador (fig.
9).7)- Instale os componentes na ordem inversa de que foram removidos.
8)- Aplique um torque de 113Nm no parafuso (12m.m)da polia da árvore de manivelas (fig.
5) ou 145Nm (14m.m).