Capitulo 26
Aplicativo DAEWOO
Motor A16DM
LANOS 1.6L
NUBIRA 1.6L
ANO: 1998
Daewoo recomenda o ajuste a cada 30.000 milhas (66.000Km) ou 36 meses e a troca a cada 60.000 milhas (132.000Km) ou 72 meses. Sempre deve ser levados em conta o uso prévio e a história de serviço do veículo.
Caso não haja a instalação da correia com precisão, pode haver dano nos pistões e Válvulas.
Um cheque de compressão de todos os cilindros deveria ser executado antes de remover o CABEÇOTE.
- Chave da bomba dágua Daewoo N° J-42492.
- Desconecte o cabo terra da Bateria
- Não gire a Árvore de Manivelas nem o Comando de Válvulas ao remover a correia dentada.
- Remova as velas para aliviar a pressão do motor se ele tiver que ser girado.
- Gire a Árvore de manivelas no sentido normal de funcionamento ou seja no sentido horário.
- Não gire a Árvore de Manivelas pelo Comando de Válvulas ou pôr outra polia.
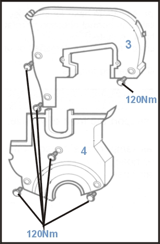
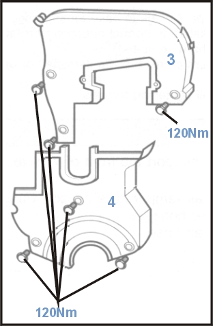
- Observe todos torques.

1)- Levante e apóie a frente do veículo.
2)- Desconecte:
- Sensor elétrico de temperatura da entrada de ar.
- Mangueira de respiro.
- Mangueira de entrada de ar.
3)- Remova:
- Protetor do filtro do ar.
- Roda dianteira direita.
- Protetor de água dianteiro direito.
- Correia de acessórios adicional.
- Parafuso da polia da árvore de manivelas (fig.
1).- Polia da árvore de manivelas (fig.
2).
- Protetores da correia de sincronismo (fig.
3 e 4).
4)- Instale temporariamente o parafuso da polia da árvore de manivelas (fig. 1).
5)- Gire a árvore de manivelas à direita até que a marca de sincronismo (fig. 5) e as marcas de sincronismo da engrenagem do comando de válvulas (fig. 6 e 7) fiquem alinhadas.



6)- Solte ligeiramente os parafusos de retenção da bomba dágua (fig.
8).7)- Usando a ferramenta N° J-42492 (fig.
9), gire a bomba dágua à esquerda para aliviar a tensão da correia.
8)- Aperte ligeiramente os parafusos retentores da bomba dágua (fig.
8).9)- Apóie o motor e remova:
- Delimitador da montagem direita do motor.
- Correia de sincronismo.
1)- Confirme que as marcas de sincronismo estejam alinhadas (fig.
5, 6 e 7).


2)- Instale a correia de sincronismo na direção anti-horária começando pela engrenagem da árvore de manivelas.
3)- Confirme que a correia de sincronismo tencione entre as engrenagens no lado oposto ao tencionador.
4)- Solte ligeiramente os parafusos da bomba dágua (fig.
8).5)- Usando a ferramenta N° J-42492 (fig.
9), gire a bomba dágua a direita até que o ponteiro do tencionador alinhe com a (fig. 10).

6)- Aperte ligeiramente os parafusos da bomba dágua (fig.
8).7)- Gire a árvore de manivelas lentamente duas vezes à direita até que as marcas de sincronismo estejam alinhadas (fig.
5, 6 e 7).8)- Solte ligeiramente os parafusos da bomba dágua (fig.
8).9)- Usando a ferramenta N° J-42492 (fig.
9), ajuste a posição da bomba dágua até que os ponteiros fiquem alinhados (fig. 11).10)- Aplique um torque de 100Kg.cm nos parafusos retentores da bomba dágua (fig.
8).11)- Remova o parafuso da polia da árvore de manivelas (fig.
1).
12)- Instale os componentes na ordem inversa de que foram removidos.
13)- Aplique um torque de 95Nm no parafuso (fig.
1)da polia da árvore de manivelas + 30°