Capitulo 09
Aplicativo AUDI
Motor JT, KH, KX,
KZ, MC,NF, NG AUDI 4000 2.2LAUDI 200 2.2L
AUDI 200 2.2L TURBO
AUDI 200 Quattro 2.2L
AUDI 4000 2.3L
AUDI 5000 2.2L
AUDI 5000 2.3L
AUDI 80 2.3L
AUDI 90 2.3L
AUDI COUPE 2.2L
AUDI COUPE Quattro 2.2L
AUDI COUPE/Quattro 2.3L
Ano: 1978-92
Não é recomendado um intervalo de tempo específico para que seja feita a troca da correia dentada.
Na prática pode-se constatar que, como precaução, a troca deve ser feita no intervalo de 80.000 Km.
Sempre deve ser levados em conta o uso prévio e a história de serviço do veículo.
Caso não haja a instalação da correia com precisão, pode haver dano nos pistões e Válvulas.
Um cheque de compressão de todos os cilindros deveria ser executado antes de remover o CABEÇOTE.

1)- Vire a árvore de manivelas no sentido horário até que o cilindro N° 1 no ponto morto superior de compressão alinhe com o comando de válvulas (fig. 3 diagrama) e as marcas de sincronismo (fig. 4).


2)- Remova:
1
- Correias de acessórios adicionais.2
- Bomba da direção hidráulica (não desconecte as mangueiras).3
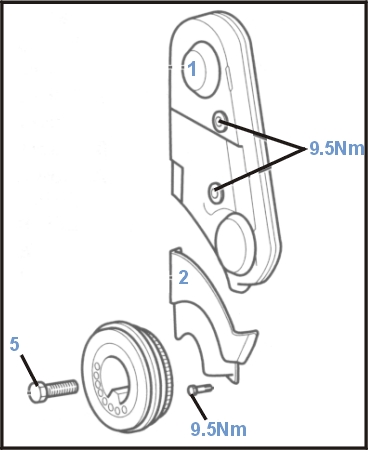
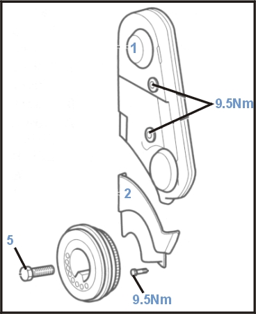
- Parafuso da polia da árvore de manivelas (fig.5).
4
- Protetores superior e inferior da correia de sincronismo (fig.1 e 2).3)- Solte os parafusos da bomba dágua e gire a bomba à direita para soltar a correia.
4)- Remova a polia/engrenagem da árvore de manivelas e a correia de sincronismo.
NOTA: Se for necessário, instale um novo anel na bomba dágua antes de instalar a correia de sincronismo.
1)- Confirme que as marcas de sincronismo estejam alinhadas.
2)- Instale a polia/engrenagem da árvore de manivelas com a correia de sincronismo engatada, confirme se a correia não está presa entre a bomba de óleo e a engrenagem.
3)- Instale a correia de sincronismo nas engrenagens e polias na seguinte ordem:
a
- Polia inativa.c
- Engrenagem do comando de válvulasd
- Engrenagem da bomba dágua.4)- Confirme que a correia de sincronismo tencione entre as engrenagens no lado oposto ao tencionador.
5)- Gire a bomba dágua à esquerda até que a correia possa ser virada somente até 90° com os dedos e polegar (fig.
6 diagrama) na marca .
6)- Aplique um torque de 20.3 Nm nos parafusos da bomba dágua.
7)- Gire a árvore de manivelas duas vezes à direita e cheque se as marcas de sincronismo estão alinhadas.
8)- Instale os componentes na ordem inversa de que foram removidos.
9)- Aplique um torque de 408 Nm no parafuso da polia da árvore de manivelas (fig.
5 diagrama).
NOTA: Este torque se aplica somente usando a ferramenta N° 2079.