Linha Diesel Pesada

Ford F-250

Esquemas Elétricos e Diagnóstico de Sensores
F-250 Banner

Elétrica e Manuais

Testes de Sensores

Diagramas de Injeção Eletrônica

Esquema Principal Esquema F-250 2005+

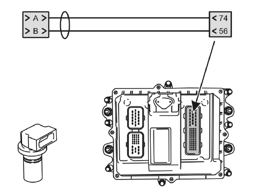
Teste: Sensor de Rotação

Rotação 2005 Rotação

Teste: Sensor de Fase

Fase 2005 Fase

Teste: Sensor MAP e Temp. do Ar

MAP 2005

Teste: Sensor de Temp. do Líquido (ECT)

ECT 2005 ECT ECT Complemento

Teste: Água no Combustível

Água 2005 Água Complemento

Teste: Pedal do Acelerador

Pedal 2005 Pedal

Teste: Interruptor de Pressão de Óleo

Pressão Óleo

Teste: Sensor de Pressão do Rail

Pressão do Rail

Relés e Fusíveis

Esquema Relés 1 Esquema Relés 2 Esquema Relés 3 Esquema Relés 4 Esquema Relés 5