APLICATIVOS FIAT.
MAGNETI MARELLI IAW 1AF 13/15/17/23/25
FIAT BRAVO 1.6 16V após 95.
FIAT BRAVA 1.6 16V após 95.
COMO FUNCIONA ESTE SISTEMA
A Este sistema possui autodiagnose é um sistema digital multiponto com 4 válvulas injetoras, que caso tenha alguma falha o sistema indica e armazena que posteriormente poderá ser diagnosticado com um SCANNER. B A unidade central opera no modo emergência quando um sensor falha, assim o motorista conseguirá levar o carro até uma oficina. C- A lâmpada de falha esta localizada no painel de instrumento e quando houver alguma falha ela dará algumas piscadas. |
ANTES DE TESTAR QUALQUER COMPONENTE DA INJEÇÃO VERIFIQUE. 1- Verificar a temperatura de operação do motor. 2- Sistema de ignição em boas condições. 3- Filtro do ar em boas condições. 2 -Todos os equipamentos e acessórios auxiliares como alarme, ar condicionado, som etc, estejam desligados. |
MEDIDAS TÉCNICAS.
MARCHA LENTA |
| Todos Modelos 850±50 rpm |
2- Nenhum ajustamento manual é possível.
3 - Se o sinal estiver incorreto verificar o cabo e os terminais.
NÍVEL DE CO |
| Todos modelos 0,35% max num tubo acoplado |
1 - O nível de CO é eletronicamente controlado.
2 - Não há nenhum ajuste possível.
3 - Se nível de CO não estiver como as especificações acima examinar detalhadamente o cano de descarga para um possível vazamento, caso não encontre proceder testes nos componentes da injeção.
LOCALIZAÇÃO DOS COMPONENTES DA INJEÇÃO

| 1 Sensor de Rotação. 10 Sensor de Oxigênio (Sonda Lambda |
| 2 Sensor de Fase. 11 Válvula do controle da marcha lenta. |
| 3 Conector de dados (ALDL). 12 Bobina de ignição. |
| 4 Módulo central (CENTRALINA). 13 Interruptor inercial. |
| 5 Sensor da temperatura da água. 14 Válvulas Injetoras. |
| 6 Válvula de canister. 15 Sensor da Temperatura do Ar. |
| 7 Filtro de combustível. 16 Sensor de pressão Absoluta MAP. |
| 8 Regulador de pressão do combustível. 17 Relé do Módulo. |
| 9 Bomba de combustível (fica no tanque). 18 -Sensor da posição da Borboleta. |
19 Sensor de velocidade. |
BUSCA DE FALHAS PELO SINTOMA DO CARRO.
| PROBLEMA | COMPONENTES A SEREM TESTADOS |
| MOTOR NÃO PEGA | 1-Examinar bateria e suas conexões. 2-Interruptor inercial ativado. 3-Falha na memória do módulo central. 4-Verificar cabos/relés/conexões do sistema. 5-Verificar as condições do filtro de combustível e sistema de combustível Bomba/Regulador. 6-Verificar se há estanqueidade no sistema de combustível. 7-Ver Sensor de Temperatura da Água. 8-Examinar Válvulas Injetoras. 9 -Filtro do ar e sua Tubulação. 10-Sistema de Ignição. |
| MOTOR COM DIFICULDADE PARA PEGAR. | 1- Testar Bateria e suas conexões. 2- Falha na memória no Módulo Central. 3- Verificar cabos/relés/conexões do sistema 4- Verificar as condições do filtro de combustível e sistema de combustível Bomba/Regulador. 5- Verificar se há estanqueidade no sistema de combustível. 6- Ver Sensor de Temperatura da Água. 7- Examinar Válvulas Injetoras. 8- Filtro do ar e sua Tubulação. 9- Sistema de Ignição. |
|
| MOTOR PEGA MAS LOGO MORRE. | 1- Verificar as
condições do filtro de combustível e sistema de combustível Bomba/Regulador. 2- Atuador de marcha lenta. 3- Verificar contatos do conector com o Módulo Central. 4- Verificar se há estanqueidade no sistema de combustível. |
|
| MARCHA LENTA IRREGULAR. | 1- Sistema de
Ignição. 2- Válvulas injetoras. 3- Atuador da Marcha Lenta. 4- Verificar as condições do filtro de combustível e sistema de combustível Bomba/Regulador. 5- Testar válvula EGR. 6- Sonda Lambda. 7- Compressão/Vácuo. |
|
| MARCHA LENTA MUITO ALTA. | 1- Atuador da Marcha
Lenta. 2- Verificar Sensor da posição da Borboleta. 3- Verificar as condições do filtro de combustível e sistema de combustível Bomba/Regulador. |
|
| MARCHA LENTA MUITO BAIXA. | 1- Sensor de
Temperatura da água. 2- Atuador da Marcha Lenta. 3- Filtro de Combustível. |
|
| MÁ RETOMADA NA ACELERAÇÃO. | 1- Válvulas
injetoras. 2- Sonda Lambda. 3- Sensor de Temperatura da Água. 4- Sensor de Velocidade. 5- Sensor da Temperatura do Ar. 6- Verificar cabos/relés/conexões do sistema. 7-Verificar contatos do conector com o Módulo Central. |
|
| MOTOR MORRE AO CARRO PARAR. | 1- Interruptor
inercial ativado. 2- Verificar cabos/relés/conexões do sistema 3-Verificar se há estanqueidade no sistema de combustível. 4- Atuador da Marcha Lenta. 5- Verificar contatos do conector com o Módulo Central. |
|
| MOTOR DETONA BATE PINO | 1- Válvulas injetoras. 2- Sensor de Temperatura da Água. 3- Bomba de Combustível. 4- Filtro de combustível. 5- Regulador de pressão de combustível. 6- Sensor de Pressão Absoluta. 7- Sensor da Posição da Borboleta. 8- Sistema de Ignição. |
|
| nível DE CO MUITO ALTO | 1- Verificar
cabos/relés/conexões do sistema 2- Sensor de Temperatura da Água. 3-Sensor da Temperatura do Ar. 4-Válvulas injetoras. 5- Sonda Lambda. 6- Bomba de combustível. 7- Entrada Falsa de Ar. 8- Filtro de combustível. |
|
| nível DE CO MUITO BAIXO. | 1- Entrada Falsa de Ar. 2- Verificar cabos/relés/conexões do sistema 3- Regulador de pressão de combustível. 4- Válvulas injetoras. 5- Sonda Lambda. 6- Verificar contatos do conector com o Módulo Central. |
|
| EXCESSO DE CONSUMO DE combustível. | 1- Sistema de Arrefecimento. 2- Sistema de Ignição. 3- Sonda Lambda. 4-Válvulas injetoras. 5- Regulador de pressão de combustível. 6- Verificar contatos do conector com o Módulo Central. 7- Sensor de Temperatura da Água. 8- Sensor da Temperatura do Ar 9- Sensor da Posição da Borboleta. |
|
| MOTOR CONTINUA FUNCIONANDO APÓS DESLIGAR. | 1- Sensor de Pressão Absoluta. 2- Válvulas injetoras. 3- Sensor de Temperatura da Água. 4- Sensor da Posição da Borboleta. 5- Verificar contatos do conector com o Módulo Central. |
|
CONECTOR DA UNIDADE CENTRAL COM SUA PINAGEM

IDENTIFICAÇÃO DOS COMPONENTES DO ESQUEMA ELÉTRICO
CÓDIGO DISCRIÇÃO DO COMPONENTE.
| A5 | Painel de Instrumentos. |
| A62 | Imobilizador do módulo de controle. |
| B24 | Sensor de temperatura da água. |
| B25 | Sensor da temperatura do ar. |
| B32 | Sensor de Fase |
| B33 | Sensor de Velocidade. |
| B47 | Sensor da posição da Borboleta. |
| B54 | Sensor de Rotação. |
| B72 | Sonda Lambda. |
| B83 | Sensor da Pressão Absoluta MAP. |
| F | Fusível. |
| H63 | Lâmpada de Falhas. |
| K43 | Relé do Compressor do Ar Condicionado. |
| K46 | Relé duplo. |
| M12 | Bomba de combustível. |
| S30 | Interruptor Inercial de combustível. |
| S63 | Interruptor da pressão do refrigerante do Ar Condicionado. |
| T1 | Bobina de Ignição. |
| X1 | Conector de Diagnóstico (ALDL) |
| X79 | Conector da Transmissão Automática. |
| Y3 | Válvulas Injetoras. |
| Y99 | Válvula do Controle da Marcha Lenta. |
| Y104 | Válvula de Canister. |
| 15 | Chave de Ignição. |
| 30 | Positivo da Bateria (+) |
| 31 | Negativo da Bateria (-) |
| F-25A | Fusível de 25 Ampères. |
| F-5A | Fusível de 5 Ampères. |

TESTANDO |
A)_Chave desligada, despressurizar o sistema, conectar um Manômetro de Pressão na linha de entrada de combustível, remova o Relé duplo faça um jump entre os terminais 8 e 13 da base do Relé, acionando a Bomba de combustível, remover a mangueira de vácuo e tampar deverá apresentar uma pressão 3,0 bar. |
2)- Como testar a vazão de combustível.

TESTANDO |
a) Chave desligada, desconecte o tubo de combustível, coloque na ponta uma cuba apropriada para medir a vazão, remova o relé duplo e faça um jump nos terminais 8 e 13 do conector do relé e acione a bomba Taxa de Vazão 2 Litros em 60 segundos |
3)- Como testar o funcionamento da bomba.

Checando operação
TESTANDO |
a) Chave desligada, remova o relé duplo, faça um jump nos terminais 8 e 13 no conector do relé a bomba deverá funcionar continuamente. |
4) Como testar as Válvulas Injetoras.

TESTANDO |
1 Ignição ligada motor parado, PONTA DE PROVA no fio (branco/marrom) de cada válvula injetora. Positivo (12). |
2 PONTA DE PROVA nos fios ligados aos pinos 1 (preto/vermelho) 2 (Amarelo/vermelho) 38 (Verde/Vermelho) 39 (Azul/Vermelho). Dê partida no motor. Led verde pisca durante ao partida ou com o funcionamento do motor. |
3 MULTITESTE DIGITAL no modo ohmimetro, medir a resistência das válvulas injetoras 13,8 a 15,2 W |

Checando resistência e suprimento de voltagem.
TESTANDO |
1-MULTITESTE DIGITAL no modo ohmimetro, desconectar o Sensor medir a resistência entre os terminais ( A) e (C) do Sensor de 0 a 1200 |
2 Ignição ligada motor parado, MULTITESTE DIGITAL no modo voltímetro no (Azul Claro/Violeta) ligado ao pino 16 da centralina. 5,0V ± 5%. |
3 Ignição ligada motor parado, MULTITESTE DIGITAL no modo voltímetro no fio (Preto/Violeta) ligado ao pino 23 da Centralina. Gire lentamente o eixo da borboleta até o final. As leituras devem estar devem estar de acordo com os dados abaixo. A variação da tensão entre Fechada e Aberta deve ser linear. |
Dados:
| POSIÇÃO DA BORBOLETA | TENSÃO (V) |
| Borboleta Fechada. | 0,4 a 07 |
| Borboleta Aberta | 4,0 a 5,0 |

Checando suprimento de voltagem e operação.
TESTANDO |
1-Ignição ligada, motor parado, PONTA DE PROVA no fio (preto) ligado ao pino 17 da centralina. Negativo (-). |
2 Ignição ligado motor parado. MULTITESTE DIGITAL no modo voltímetro no fio (rosa/preto) ligado ao pino 34 da Centralina. Tensão de 5,0V ± 5%. |
3 MULTITESTE DIGITAL no modo voltímetro no fio (azul claro/amarelo) ligado ao pino 14 da centralina deverá flutuar a Tensão de 0,25V a 4,75V. |
Checando resistência e voltagem.
TESTANDO |
1 Ignição ligada motor parado, PONTA DE PROVA no fio (preto) ligado ao pino 17 da centralina . Negativo (-). |
2 Desconecte o multi-plug do sensor teste a resistência entre os dois terminais do Sensor utilize um MULTITESTE DIGITAL no modo ohmimetro conforme dados abaixo. |
DADOS:
| TEMPERATURA °C | 0° |
20° |
40° |
| RESISTÊNCIA W | 10000 |
4000 |
2000 |

Checando operação e resistência
TESTANDO |
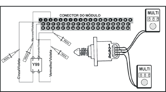
1 Ignição ligada motor parado, PONTA DE PROVA em cada um dos fios ligados a Válvula de marcha lenta. Dar partida no motor. Os LEDS deverão piscar alternadamente quando for dada a partida. Logo que o motor pegar ou quando ocorrer variação na marcha lenta. |
2 Ignição desligada, desconecte os terminais do conector da Válvula de marcha lenta. Medir a resistência elétrica dos enrolamentos com MULTITESTE DIGITAL. Deve estar de acordo com a tabela abaixo. |
TABELA:
| TERMINAIS 1 & 4 | 40 a 60 W |
|
| TERMINAIS 2 & 3 | 40 a 60 W |

Checando suprimento e resistência
TESTANDO |
1 Centelhador colocado na Bobina. Dar partida no motor. Centelha forte (mínimo 2 cm) durante partida. |
2 Ignição ligada, motor parado, PONTA DE PROVA no fio (Branco/Marrom). Dar partida no motor Positivo (+) 12V durante a partida e ou com o motor funcionando. |
3 PONTA DE PROVA no fio (Branco/Verde) ligado ao pino 37 da centralina ou no fio (Branco/Preto) ligado ao pino 55 da centralina. Dar partida no motor. Led (verde) deve piscar durante a partida ou com motor funcionando. |
4 Ignição desligada, MULTITESTE DIGITAL no modo ohmimetro, medir resistência do primário (entre os terminais laterais e o terminal central do conector) e do secundário da Bobina entre as saídas para as velas, conforme dados abaixo. |
DADOS: Resistência do primário.
| Terminais Resistência |
| 1 & 2 0,55 a 0,61 W |
| 2 & 3 0,55 a 0,61 W |
DADOS: Resistência do secundário.
| Terminais Resistência |
| 1 & 4 8645 a 9555 W |
| 2 & 3 8645 a 9555 W |
TESTANDO |
1 Ignição ligada motor parado, PONTA DE PROVA no fio (preto) ligado ao pino 17 da centralina . Negativo (-). |
2 Desconecte o sensor do plug teste a resistência entre os dois terminais do Sensor utilize um MULTITESTE DIGITAL no ohmimetro conforme dados abaixo. |
DADOS:
| TEMPERATURA °C | 0° |
20° |
40° |
| resistência W | 10000 |
4000 |
2000 |
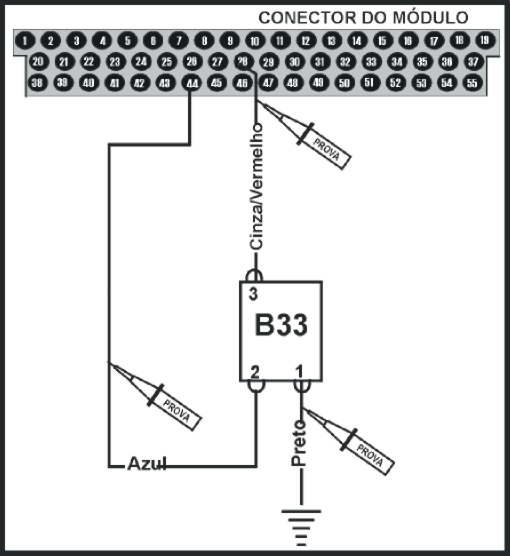
11) Como testar o sensor de Rotação.

TESTANDO |
1 Ignição desligada, desconectar o sensor do chicote. Com o multiteste digital no modo ohmimetro, medir resistência do sensor ver tabela abaixo. |
2 Medir distância entre e roda dentada (não utilizar um calibrador). 0,5 a 1,5 mm |
3 Conector o sensor ao chicote . Instalar o MULTITESTE DIGITAL com a garra (gafanhoto) no fio (branco) ligado ao pino 46 da centralina. Selecionar modo VAC tensão alternada no MULTITESTE DIGITAL. Dar partida no motor> Deve indicar um valor entre 1 e 3 VAC em marcha lenta. |
Tabela
| Terminais Resistência |
| 1 e 2 575 750 W |

TESTANDO |
1- Ignição ligada, motor parado, PONTA DE PROVA no fio (preto/amarelo) ligado ao pino 53 da centralina. Negativo (-) |
2 Mesma situação anterior, MULTITESTE DIGITAL modo voltímetro no fio (azul claro) ligado ao pino 16 da centralina. Tensão de 5,0 ±5% |
3 PONTA DE PROVA ligada no fio (azul/branco) ligado ao pino 11 centralina. Dar partida no motor. Os leds devem piscar durante a partida e em funcionamento. |

TESTANDO |
1- Motor funcionamento, PONTA DE PROVA no fio (marrom/ branco) da sonda lambda. Positivo (+) (12V). |
2 Motor funcionando, PONTA DE PROVA no fio (preto/verde) da sonda. Negativo (-) |
3 Ignição desligada, desconectar a sonda do chicote. Com o MULTITESTE DIGITAL, medir resistência de aquecimento da sonda medir através dos terminais A e B do conector. Resistência 5000 W . |
4 Motor funcionando, PONTA DE PROVA na fio (amarelo) da sonda. Negativo (-) |
5 Motor funcionando e aquecido, MULTITESTE DIGITAL (modo voltímetro) no fio (preto ) da sonda (ligado ao pino 22 da centralina). Também poderá ser testado nos terminais B e C do conector. Acelere o motor várias vezes. Tensão deve ficar oscilando entre 0,2 V e 0,8V. |

TESTANDO |
1-Motor desligado, desconecte o conector do sensor com um MULTITESTE DIGITAL teste a resistência nos terminais C e D deverá estar de 4,3 a 4,7 W . |
2 Motor desligado, desconecte o conector do sensor com um MULTITESTE DIGITAL teste a resistência no terminal D e o terra deverá ser positivo (+) 12V. |
15) Como testar a Válvula de Canister.

TESTANDO |
1 Ignição ligada motor parado, PONTA DE PROVA no fio (Branco/Marrom) da válvula. Dar partida no motor Positivo 12V durante a partida ou com motor funcionando. |
2 Ignição desligada desconectar a válvula do chicote. Com MULTITESTE DIGITAL medir resistência elétrica entre os terminais da válvula. Resistência entre 20 e 30 W . |
3 Motor funcionando, aquecido MULTITESTE DIGITAL modo duty-cycle no fio (Amarelo/Rosa) ligado ao pino 24 da Centralina. Acelere o motor algumas vezes. Leitura entre 30 e 70% por alguns instantes. |

TESTANDO |
| 1 Ignição ligada motor parado, PONTA DE PROVA no fio (Preto). Negativo (_) |
2 Ignição ligada motor parado, PONTA DE PROVA no fio (Azul), Dar partida no motor Positivo (+) durante a partida ou com o motor funcionando. |
3 Levantar uma das rodas dianteiras do veiculo, PONTA DE PROVA no fio (Cinza/Amarelo) ligado ao pino 28 da centralina. Girar a roda. Os leds devem piscar enquanto a roda girar. |

TESTANDO |
1 Ignição desligada, remova o relé teste com MULTITESTE DIGITAL conforme Tabela abaixo. |
| 2 Verifique a conexão da Bateria conforme Tabela abaixo. |
DADOS:
| Terminais Condição Resistência |
| 1 & 11 Bateria desconectada. EEE(isolado) |
| 1 & 11 Bateria conectada Zero |
| Bateria (+) Positivo Terminal 10 |
| Bateria (-) Negativo Terminal 3 |

TESTANDO |
1 Ignição desligada, remova o relé teste com MULTITESTE DIGITAL conforme Tabela abaixo. |
| 2 Verifique a conexão da Bateria conforme Tabela abaixo. |
DADOS:
| Terminais Condição Resistência |
| 8 & 13 Bateria desconectada. EEE(isolado) |
| 8 & 13 Bateria conectada Zero |
| Bateria (+) Positivo Terminal 12 |
| Bateria (-) Negativo Terminal 7 |
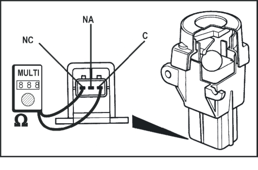
19) Como testar o interruptor inercial.

TESTANDO |
1 Ignição desligada, desconecte o interruptor do plug e remova o interruptor, inverta o interruptor e o desligue, teste a resistência entre os terminais C & NC com um MULTITESTE DIGITAL no modo ohmimetro deve ser de EEE (isolado). |
1 Ignição desligada, desconecte o interruptor do plug e remova o interruptor, e o religue, teste a resistência entre os terminais C & NC com um MULTITESTE DIGITAL no modo ohmimetro deve ser de ZERO W . |

TESTANDO |
| 1 Ignição desligada, desconecte o multi-plug da centralina religue a ignição utilize um MULTITESTE DIGITAL teste aVoltagem conforme dados a abaixo. |
DADOS.
| Terminais Condição Voltagem |
| 13 & Terra Ignição Ligada 12V |
TESTANDO |
1 Ignição desligada, desconecte o multi-plug da centralina, utilize um MULTITESTE DIGITAL teste a Resistência conforme dados a abaixo. |
DADOS.
| Terminais Condição Resistência |
| 36 & Terra Ignição Ligada Zero W |
| 54 & Terra Ignição Ligada Zero W |